Image: Nintendo Life The Switch Online service has already been expanded with GameCube games this year, and the Virtual Boy library will be making a comeback early next… Continue reading
Tag: Patent
Image: Nintendo Life / Nintendo Another patent has been published for the Switch Online Playtest Program, which was extended to Switch 2 users in July. According to Nintendo… Continue reading
Image: Pocketpair Nintendo’s recent legal activity has caused quite the commotion online. One patent application relating to the summoning of a so-called ‘sub character’ has proven particularly controversial… Continue reading
Is Nintendo’s potentially industry-changing new monster battling patent enforceable? We asked some lawyers
Nintendo has been granted a new patent in the US, following its ongoing patent infringement lawsuit with Palworld developer Pocketpair. The new patent, granted last week… Continue reading
Image: Nintendo Nintendo, in its ongoing battle against Pocketpair and Palworld, has been filing various patents left, right, and centre in the US, the latest of which is… Continue reading
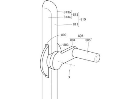
Nintendo keeps exploring unique ways to play, as a newly discovered patent filing reveals the company is experimenting with a crank-like peripheral for its controllers. The patent, filed… Continue reading
Image: Nintendo Life Patents don’t always lead to something, but it’s still interesting to see what companies might be up to or at least thinking about behind closed… Continue reading






